
Los amantes de las motos solemos mirar todo aquello que lleva el apellido ‘eléctrico’ como si fuese un bicho raro, pero parece que deberemos ir habituándonos a ver cada vez más motos y scooters con este tipo de propulsión, además de los híbridos.
En esto último viene trabajando la marca de Iwata, que ha registrado los bocetos de lo que parece ser un Yamaha T-Max híbrido.
No es la primera incursión de Yamaha en este tipo de vehículos: en 2005 presentó una futurista ‘concept’ híbrida llamada Gen-Ryu, propulsada con un motor de R6 y un motor eléctrico. Luego, en 2009, algo que parecía mucho más próximo a una moto de serie: la HV-X, con un motor monocilíndrico de 250 c.c., montado en un chasis de T-Max, además de un motor eléctrico.

Si aquellos prototipos eran motos híbridas, estos bocetos de patente muestran un maxiscooter, con apariencia de T-Max.
Por lo que puede verse en los bocetos, el Yamaha ¿T-Max? Híbrido se diferencia de otros scooters que hemos visto con doble sistema de propulsión, como el Piaggio MP3 Hybrid y el PCX Hybrid de Honda. Estos se basan principalmente en el uso de un motor de gasolina al que se añade un motor eléctrico, que es un complemento del primero.
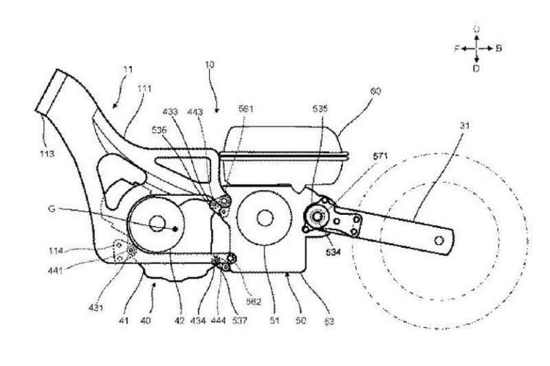
En el caso del Yamaha que vemos en los bocetos el motor principal (51) es eléctrico, con un pequeño motor de gasolina (41) que sirve para mover un generador (42) y recargar al primero, permitiendo una autonomía mucho más elevada. La transmisión final es por cadena o correa.

A diferencia de la Gen-Ryu o la HV-X, en el Yamaha T-Max híbrido no hay ningún tipo de transmisión desde el motor de combustión a la rueda. Tan solo el motor eléctrico cumple este cometido.
En todo caso, parece que por lo menos tres de las cuatro marcas japonesas están trabajando en motos y scooters con energías limpias, tanto en eléctricas puras como en hibridas.
Fuente: Solomoto.es